ROEMHELD氣缸油缸定位柔性夾緊元件

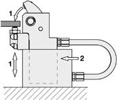
位置柔性夾具B1.732 (圖1)


圖1:位置靈活的夾具B1.732
位置彈性夾緊爪B1.733(圖2)
位置彈性夾緊爪由一個U形安裝體和可移動的嵌入式夾緊單元組成,該夾緊單元通過兩條帶切屑保護的短高壓軟管供油。
在可移動的夾緊單元中集成了一個雙作用液壓缸,該液壓缸的夾緊力通過夾緊桿以180°的角度引入到工件支架中。
該支架可調節高度,以夾持不同厚度的工件。在夾緊過程之后,仍可移動的夾緊單元將通過單動缸鎖定在安裝體內。
為了控制夾緊桿,可以進行感應或氣動位置監控。


圖2:位置靈活的夾緊爪B1.733
位置彈性夾緊爪B1.733(圖2)
位置彈性夾緊爪由一個U形安裝體和可移動的嵌入式夾緊單元組成,該夾緊單元通過兩條帶切屑保護的短高壓軟管供油。
在可移動的夾緊單元中集成了一個雙作用液壓缸,該液壓缸的夾緊力通過夾緊桿以180°的角度引入到工件支架中。
該支架可調節高度,以夾持不同厚度的工件。在夾緊過程之后,仍可移動的夾緊單元將通過單動缸鎖定在安裝體內。
為了控制夾緊桿,可以進行感應或氣動位置監控。


圖3:夾具夾,位置靈活的夾具I4.130
夾具,位置靈活的夾具I4.130(圖3)
位置靈活的夾具還可以在不穩定的工件部分上夾持和支撐已經定位并固定在固定擋塊中的工件。
具有位置柔性夾緊功能的固定夾由一個非常纖細的基體和兩個集成液壓缸組成?;钊νㄟ^兩個通道傳遞到兩個可相互*立移動的夾緊滑塊。夾緊期間,兩個夾緊滑塊幾乎都沒有力地接觸工件。只有在那之后,夾緊壓力以及由此的夾緊力才增加。由于楔形滑軌的楔入,可以防止它們移位。由此,工件被浮動地保持而沒有變形。


圖4:帶鎖緊活塞B1.711的液壓缸
帶有鎖止活塞的液壓缸B1.711 (圖4)
帶有鎖止活塞的液壓缸是單作用柱塞缸。對元件加壓時,活塞將膨脹
并鎖定在缸體內。
帶鎖止活塞的液壓缸不*可以夾緊工件,而且還可以補償高達五倍的機械力,并抵抗夾緊力。
資料下載
視頻介紹